東莞市賽朗密封科技有限公司
手機:13450082237
電話:0769-22210391
傳真:0769-22217692
網址:www.sllseals.com
郵箱:13450082237@163.com
地址:廣東省東莞市東城街道桑園社區(qū)銀貴路6號
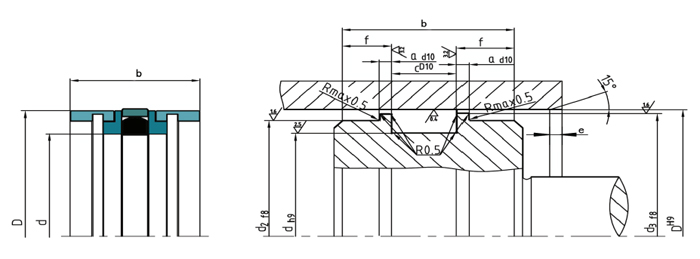
1.GD1000K活塞組合密封標準材料
導向環(huán):尼龍PA或填充聚四氟乙烯F-PTFE
擋 圈:尼龍PA或填充聚四氟乙烯F-PTFE
密封環(huán):填充聚四氟乙烯F-PTFE
彈性圈:丁腈橡膠NBR或氟橡膠FKM

2.應用范圍
由密封環(huán)、彈性圈、二個擋圈和二個導向套組成,導向套起定位和導向作用,彈性圈提供預緊力并補償密封環(huán)的磨損,密封環(huán)與油缸內孔形成配合對偶面而產生密封效果,適用于油缸活塞的密封。DDKK具有雙向密封效果。
設計選用時可參考Hunger公司GD1000K系列標準。
